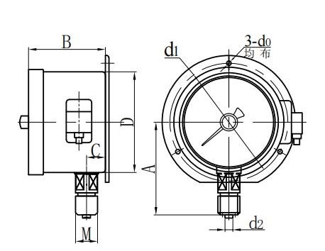
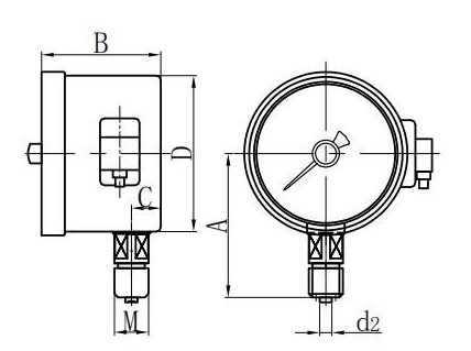
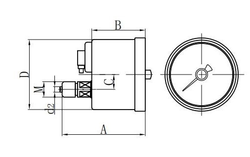
◆ Model: YXD100 YXD150
◆ Kegunaan: Instrumen semacam ini adalah pengganti tolok tekanan sentuhan elektrik, ia mengekalkan kelebihan penunjuk tekanan tekanan elektrik adalah intuitif, mudah disesuaikan, dan instrumen telah membuat peningkatan asas, penggunaan sensor fotoelektrik untuk membentuk alat-alat yang tidak bersemangat, Ketepatan, ciri -ciri penukaran yang sangat baik. Ia digunakan secara meluas dalam petroleum, industri kimia, metalurgi, teknologi tenaga nuklear dan proses penukaran yang kerap.
Instrumen ini sesuai untuk pengukuran dan pengukuran yang stabil dan boleh dipercayai terhadap tekanan cecair, gas atau wap tanpa bahaya letupan, bukan penyebaran, bukan penyaringan, dan kesan tidak menghakis pada aloi tembaga dan tembaga.
◆ Sekiranya perlu membuat tolok tekanan jenis shockproof, ia boleh diisi dengan gliserin atau minyak silikon.





















